最新公告:

南京及时码网络科技有限公司官网251020JSM天然气管道智能巡检管理系统软件V6、电力光缆线路巡检系统V8及配套电力光缆巡检APP发起升级23926移动GPS巡检系统、智能燃气巡检管理系统网络版、天然气管道巡检系统、智能巡检系统App+云巡视软件平台、天然气移动安检系统及燃气安检App燃气户内设备巡查ApK智慧燃气巡检系统软件、供水管网移动巡线系统启动优化升级(支持云部署)!提醒:智慧电力巡视APK光缆线路巡检App、户外设备巡查管理系统Apk、天然气管网GPS巡线系统及水GPS巡视APK框架升级同步改版!新版可用于管网/管线类移动巡视、燃气入户安检管理系统(含燃气入户安检系统App)、燃气巡检系统、电力智能线路巡检系统、原水管道巡检系统软件、天然气管网巡护云平台22412通信线路维护管理系统VL5.0光缆巡线APK上线!可用于GPS巡线系统、管线移动巡视管理平台、光缆巡检系统GPS智能巡检系统软件、管线维护管理、光缆资源管理、智慧水务GPS巡查管理软件及水务GPS巡线系统App、光缆线路维护管理系统(含光缆北斗巡检APP)、云光缆维护管理系统、移动巡线管理云平台211212设备智慧巡查软件4.0智能巡检App2.0上线!可用于电力设备巡查、设备点检管理、水务管线巡视、供水管网巡护云平台、林业GPS巡线系统、公路智能巡线系统平台、供水管道移动巡护平台等。

详细资讯
您现在的位置:首页>>详细资讯

设备智能巡检系统云平台5.0-设备点巡管理平台及移动巡查ApK软件

发表时间:2021-2-3阅读次数:8806
--本设备智能巡检系统是一个智能化设备点检管理系统综合信息平台,由平台软件群及移动巡检系统App构成,实现工厂设备维护及设备巡检可视化、规范化、流程化、动态化的信息化管理。

设备巡检系统-智能化设备点检管理系统平台

  设备巡检系统是一个智能化设备点检管理系统综合平台,针对工矿企业专门推出的全新设备点巡检管理系统,基于物联网、互联网、云技术、智能巡检终端(如专业巡检仪、巡检器或普通智能手机),实现工厂设备巡检可视化、规范化、流程化、动态化的信息化管理。

一、设备巡检系统流程

1、设置巡检点

  点巡检管理系统提供设备资料管理功能,可预选录入设备基本信息,系统对每个巡检点自动生成一个的二维码。

2、设备点检管理系统可根据生产情况制定巡检任务,任务可以是临时或周期性(按每日、周、月、季度、年等)巡检任务。

3、巡检人员APP巡检(该App可安装在专业巡检仪、巡检器或普通智能手机)

  点巡检管理系统平台可自动派发巡检任务,巡检人员对应的手机APP就会接收到相应的巡检任务信息,并按任务要求逐项进行巡检:到达对应的巡检点---扫描巡检点二维码---巡检结果录入----填写巡检信息---提交设备巡检系统。

4、巡检统计

  设备点检管理系统提供巡检统计功能,查看巡检任务情况:完成进度、巡检记录、异常信息;还可与巡检人员通过App(安装于巡检仪、巡检器或智能手机)进行通话。

二、设备巡检系统功能介绍

1、巡检项目配置管理

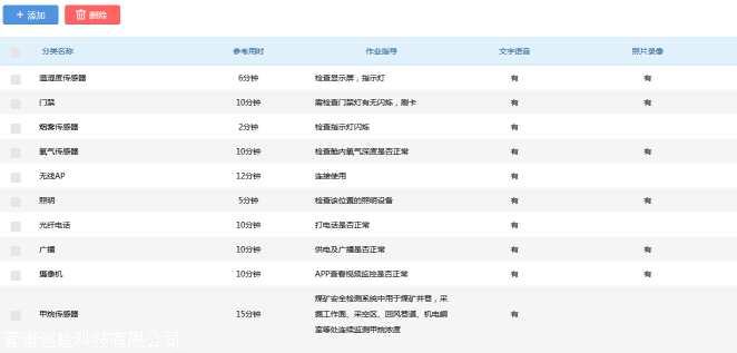
  通过设备点巡检管理系统平台可预先配置设备巡检项和常规巡检项,预估每个巡检项的用时,设置巡检作业指导(用于巡检人员巡检时进行指导)。如图所示。

图:设备点检管理系统配置管理界面

2、巡检项配置

  设备巡检系统平台提供巡检项目拍照功能,巡检项包括设备操作类巡检项和一般操作类巡检项;设备操作类是指所有需要巡检的设备,一般操作类是指除设备外等需要巡检的位置都可以作为常规巡检项,如照明、通风等,这些巡检项目通过App在巡检仪、巡检普通智能手机上呈现。

图:设备点巡检管理系统-添加设备操作类巡检项

3、巡检任务管理

  设备巡检系统具有任务管理功能主要用于巡检任务项的管理,包括任务的增删改查。

图:设备点检管理系统任务管理页面

  主要:任务计划名称、任务位置、责任人、任务频次(分日检、临检、周检、月检、季检、年检等)等功能

4、巡检信息查看及统计

  设备巡检系统平台实时接收巡检信息,并可通过巡检统计模块查看巡检任务:巡检到位率(可按部门或人员分别统计)、完成进度、巡检记录、异常巡检信息。

图:设备点检管理系统--巡检情况总览页面

图:设备点巡检管理系统-按日期查看巡检信息

5、APP端功能简介

  App负责与设备巡检系统平台进行信息交互,可安装于专业巡检仪、巡检器、平板或普通智能手机上,用户可根据实际工作场景进行选用,非常方便。

主要功能:设备信息、巡检任务、设备报损、告警信息等

1)、如果存在未完成的派单,会在主菜单页面的巡检任务图标显示一个小红色标记。

2)、点击任意一条派单,即可进入查看派单的详细页面。

3)、点击巡检设备即可打开二维码扫描功能,查看该设备的详细内容并进行设备巡检,巡检信息实时上传设备点检管理系统。


图:设备点巡检管理系统-可上传照片及视频信息。

  以上是关于设备巡检系统的功能简介,更多系统功能您可致电我公司或微信(13305156833)获取。